SAE 3000 psi Flange Clamps: ib daim txiag flange clamp system
Taw qhia txog hydraulic fluid flange txuas nrog ib-flange clamps thiab metric lossis inch screws:
1. Ua haujlwm siab ntawm SAE code 61 series flange clamps yog 3000 PSI, 3.5 MPa (35 bar) rau 35 MPa (350 bar).
2. SAE Flange clamps qhov ntev yog raws li ISO 6162-1: 2012. ISO Nominal Loj: DN 13; DN 19; DN 25; DN 32; DN 38; DN 51; DN 64; DN 76; DN 89; DN 102; DN 127; Ntaus loj: 1/2 "; 3/4"; 1 "; 1 1/4"; 1 1/2 "; 2"; 2 1/2 "; 3".
3. Khoom ntawm SAE ib daim txiag flange clamp yog ua los ntawm carbon steel C45 nrog cov khoom nyob rau hauv cov mob hauv qab no:
Rau nominal flange loj DN 13:
tsawg kawg tawm los lub zog: 220 MPa
yam tsawg kawg nkaus elongation ntawm pob txha: 3%
thiab rau tag nrho lwm cov nom tswv flange:
qhov tsawg kawg nkaus yield zog: 415 MPa
yam tsawg kawg nkaus elongation ntawm pob txha: 3%
4. Qhov chaw sab nraud Txoj kev tiv thaiv ntawm cov hlau steel SAE flange clamps, yuav tsum muaj kev tiv thaiv nrog ib qho tsim nyog txheej kom dhau 72-h ntsev tshuaj tua kab mob raws li ISO 9227.
5. Kev ntsuam xyuas kom muaj kev kub siab / kub: Flange hom kev sib txuas raws li ntu no ntawm ISO 6162 yuav raug rau qhov tawg ntho thiab cyclic endurance xeem teev nyob rau hauv ISO 19879 kom paub tseeb tias lawv tau raws li cov kev cai tswjhwm kub / kub. Nws yuav tsim nyog rau kev siv ntawm kev sib zog ua hauj lwm uas muab hauv Cov Ntu 2 thaum siv los ntawm kub ntawm -40 ° C thiab +120 ° C. Flange sib txuas ua raws li ntu ntawm ISO 6162 yuav tsum tsis txhob tuaj ua ke thaum kub qis dua-20 ° C.
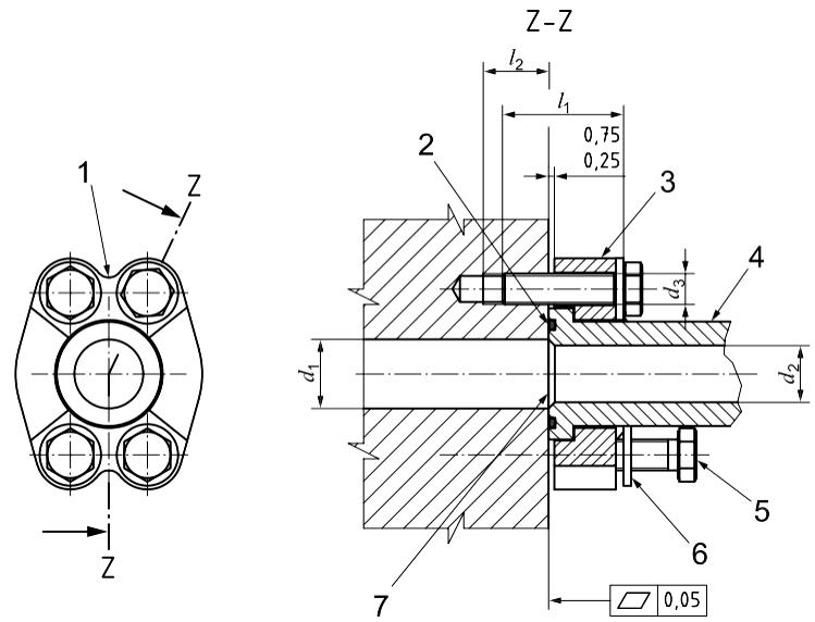
6. Kev tsim tawm ntawm ib qho flange clamps sib txuas
One-piece flange clamp ntawm qhov loj DN 25: Clamp ISO 6162-1, FC × 25


Cim npe nrov: sae 3000 flanges, suav, manufacturers, lwm tus neeg, kev cai, tooj dag, swagelok, Parker, Stauff, Brennan, stainless hlau
















